在商业竞争的暗战中,从企业商标布局往往能提前嗅到一丝端倪。近期,小米科技有限责任公司的一纸商标申请,犹如投入全球存储市场的一枚石子,激起了层层涟漪。

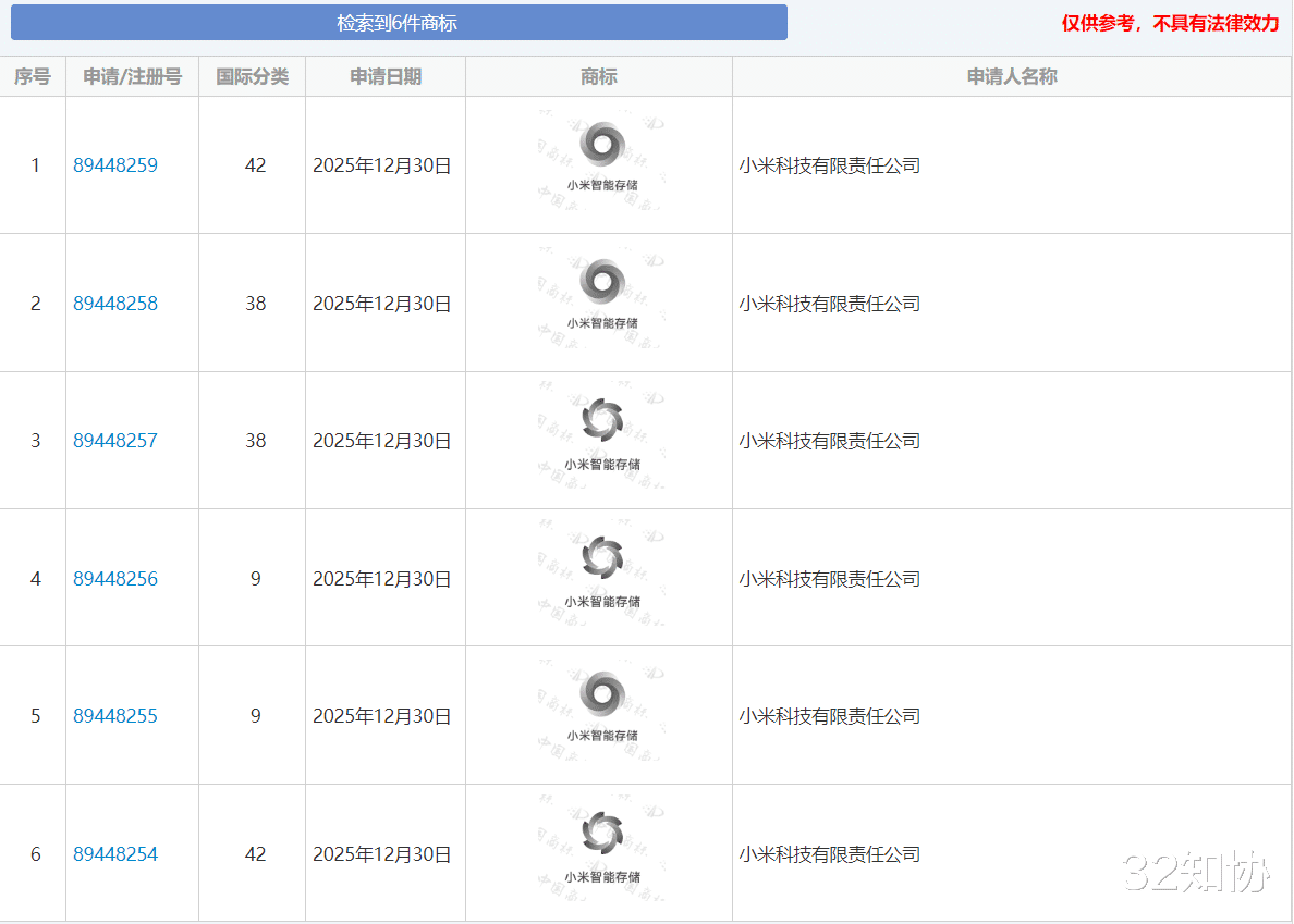
据悉,小米公司近期已申请注册多枚“小米智能存储”商标,国际分类包括科学仪器、通讯服务、网站服务等,当前商标状态均为等待实质审查。

小米为“小米智能存储”商标设计了两种圆形旋风式图样,并均进行了商标注册,这一策略为其后续的市场应用预留了充分的调整余地。
在全球存储芯片持续涨价、行业供需失衡的背景下,小米此次商标申请引发市场对小米公司可能布局智能存储领域的猜测。
该商标申请与小米此前公布的NAS家庭存储规划形成呼应,业内推测可能涉及家用存储设备、固态硬盘等消费级存储产品。

在存储巨头SK海力士预测2026年存储价格持续上涨的行业背景下,小米的入局被期待可能通过性价比优势影响市场格局。
对于科技巨头而言,注册商标绝非一时兴起。在市场竞争中,“市场未动,商标先行”是铁律。小米锁定“小米智能存储”这一核心商标,既是对未来发展的提前布局,防止核心品牌资产被抢注,也能提前在消费者心中占位。