3月12日,小米前高管王腾发文宣布新公司“今日宜休”品牌名:ISHO,发音“宜休”,目前已启动全球20多个国家和地区的注册环节。他还透露,近期在筹备ISHO app内测。

王腾在文中介绍,ISHO品牌涵义为“Inner Strength High Output”,即“积蓄精力,释放高效”,既与中文名“宜休”高度契合,又传递出品牌核心价值——打破“休息即偷懒”的认知误区,强调休息是身体修复、大脑整理、情绪松绑的必要过程,最终实现高效输出。
他还强调,ISHO目标不是做单一产品,而是致力于构建一个睡眠生态,将依托AI 技术、深度的睡眠科学研究以及睡眠生态产品闭环,花5-10年的时间打造一套从监测到改善闭环方案。
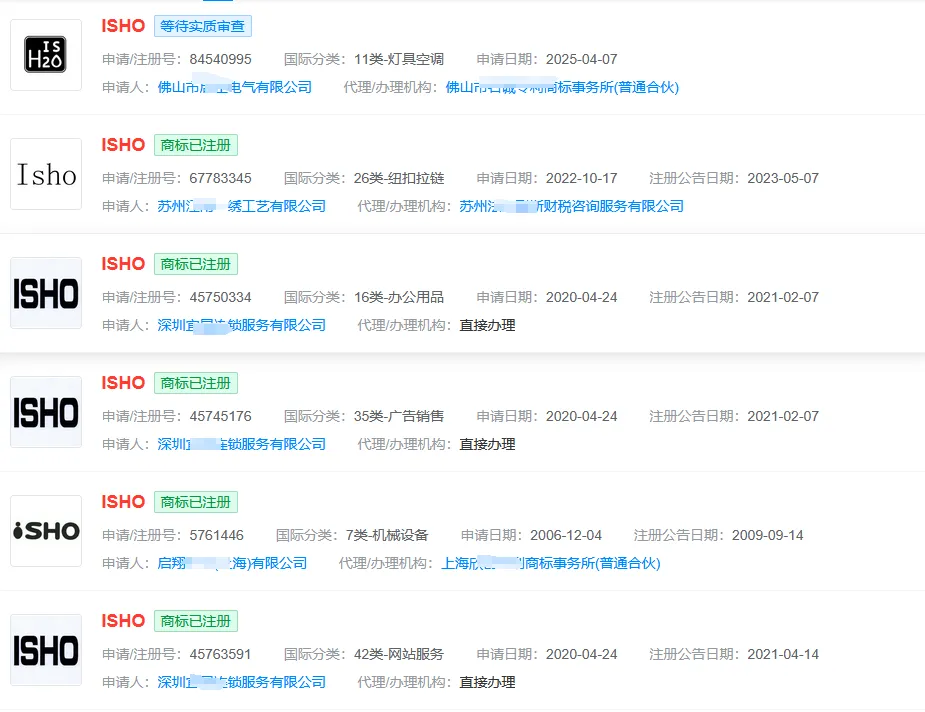
然而,根据公开的商标注册信息,“ISHO”及其中文对应“宜休”已被其他公司成功注册,这可能给新品牌的后续使用带来变数。

相关信息显示,“ISHO”和“宜休”商标目前已被注册,申请人包括深圳某连锁服务公司、苏州某工艺公司等,国际分类涉及广告销售、纽扣拉链等类别。这意味着王腾的“今日宜休”团队若要在相关领域使用该品牌,或将面临商标侵权风险,需与现有权利人协商解决。
尽管品牌名遭遇抢注,但王腾的创业项目已基本就绪。工商登记信息显示,与“宜休”关联的北京今日宜休科技有限责任公司成立于今年1月,法定代表人为王腾,注册资本100万人民币。公司经营范围涵盖软件开发、集成电路设计、集成电路芯片设计及服务等高科技领域。
据此前报道,2025年9月8日,“小米集团职业道德委员会”发布内容邮件通报,中国区市场部员工王腾,泄露公司机密信息,且存在利益冲突等严重违规违纪行为。根据公司制度规定,公司决定给予王腾辞退的处分。
此后,王腾曾回应,承认自身失职行为并深刻反省,但否认“窃取机密出售”“收受贿赂” 等网传谣言,还表示“未来仍会支持小米和REDMI”。
【温馨提示】文中部分图片及素材来源网络,版权归属原作者,若有不妥,请联系告知修改或删除,谢谢!