云霞资讯网
慢放SlowDown的文章
俞浩慈善基金会开展“看见更大的世界·音乐少年”公益活动 助力云南弥勒学子唱响梦想之声
2026-02-05 12:47
慢放SlowDown
俞浩慈善基金会开展“看见更大的世界·音乐少年”公益活动 助力云南弥勒学子唱响梦想之声
群星璀璨,追觅之夜:当音乐与科技交织,创新与关怀并行
2026-02-05 12:27
慢放SlowDown
群星璀璨,追觅之夜:当音乐与科技交织,创新与关怀并行
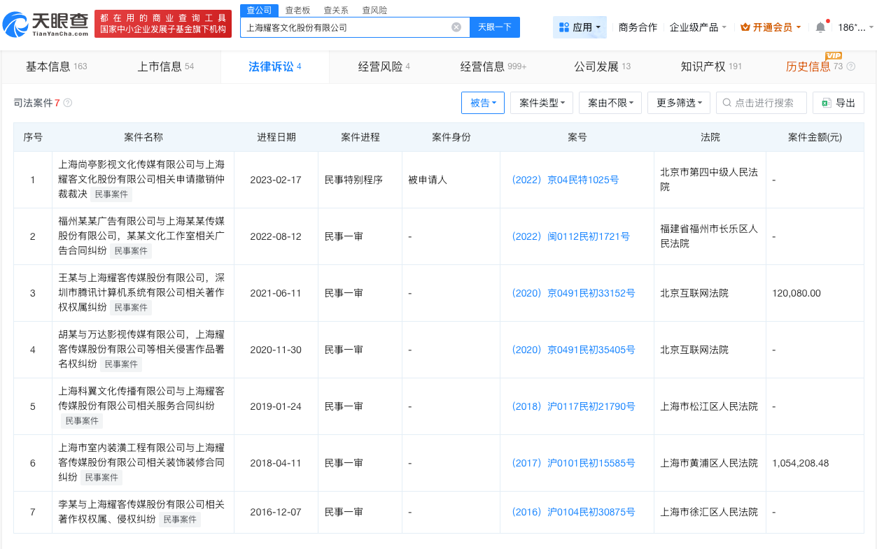
揭秘文淇新公司东申未来
2026-02-04 20:57
慢放SlowDown
揭秘文淇新公司东申未来
行业首款性能Ultra iQOO 15 Ultra正式亮相,到手价4999元起
2026-02-04 20:38
慢放SlowDown
行业首款性能Ultra iQOO 15 Ultra正式亮相,到手价4999元起
华南虎园去年曾被执行
2026-02-04 17:35
慢放SlowDown
华南虎园去年曾被执行
郑爽影视剧出品方被执行1220万
2026-02-04 17:28
慢放SlowDown
郑爽影视剧出品方被执行1220万
华为哈勃等入股AI软件开发商跨赴科技
2026-02-03 15:06
慢放SlowDown
华为哈勃等入股AI软件开发商跨赴科技
揭秘骗保精神病医院关联公司
2026-02-03 14:51
慢放SlowDown
揭秘骗保精神病医院关联公司
在建大桥塌落承建方已被多次执行
2026-02-03 14:48
慢放SlowDown
在建大桥塌落承建方已被多次执行
郑丹妮起诉丝芭新增开庭公告
2026-02-03 14:45
慢放SlowDown
郑丹妮起诉丝芭新增开庭公告
吉利汽车在宝鸡成立闪聚电池公司
2026-02-02 17:07
慢放SlowDown
吉利汽车在宝鸡成立闪聚电池公司
百度等入股北京人形机器人创新中心
2026-02-02 17:04
慢放SlowDown
百度等入股北京人形机器人创新中心
林更新名下工作室注销
2026-02-02 16:52
慢放SlowDown
林更新名下工作室注销
魏大勋名下公司注销
2026-02-02 16:50
慢放SlowDown
魏大勋名下公司注销
冠军诞生! 网易云音乐百万奖金AI音乐创作大赛收官
2026-02-02 16:37
慢放SlowDown
冠军诞生! 网易云音乐百万奖金AI音乐创作大赛收官
第一页
作者信息
慢放SlowDown
讲好每一个品牌背后的故事。
分类: 科技
热门分类
体育赛事
小说频道
下载频道
推荐
热榜
军事
NBA
体育
社会
明星八卦
娱乐
财经
科技
汽车
历史
国际
游戏
动漫
公益
搞笑
商业
互联网
数码
国际足球
房产
家居
时尚
科学探索
职场
育儿
股票
教育
影视
情感
热点
中国军情
武器
中国南海
中国足球
亚洲杯
科比
综合体育
CBA
投资
楼市
大咖秀
外汇
创业
风口
SUV
豪车
概念车
优惠
新能源
美国
欧洲
朝日韩
俄罗斯
孕期
街拍
恋爱攻略
婚姻
正能量