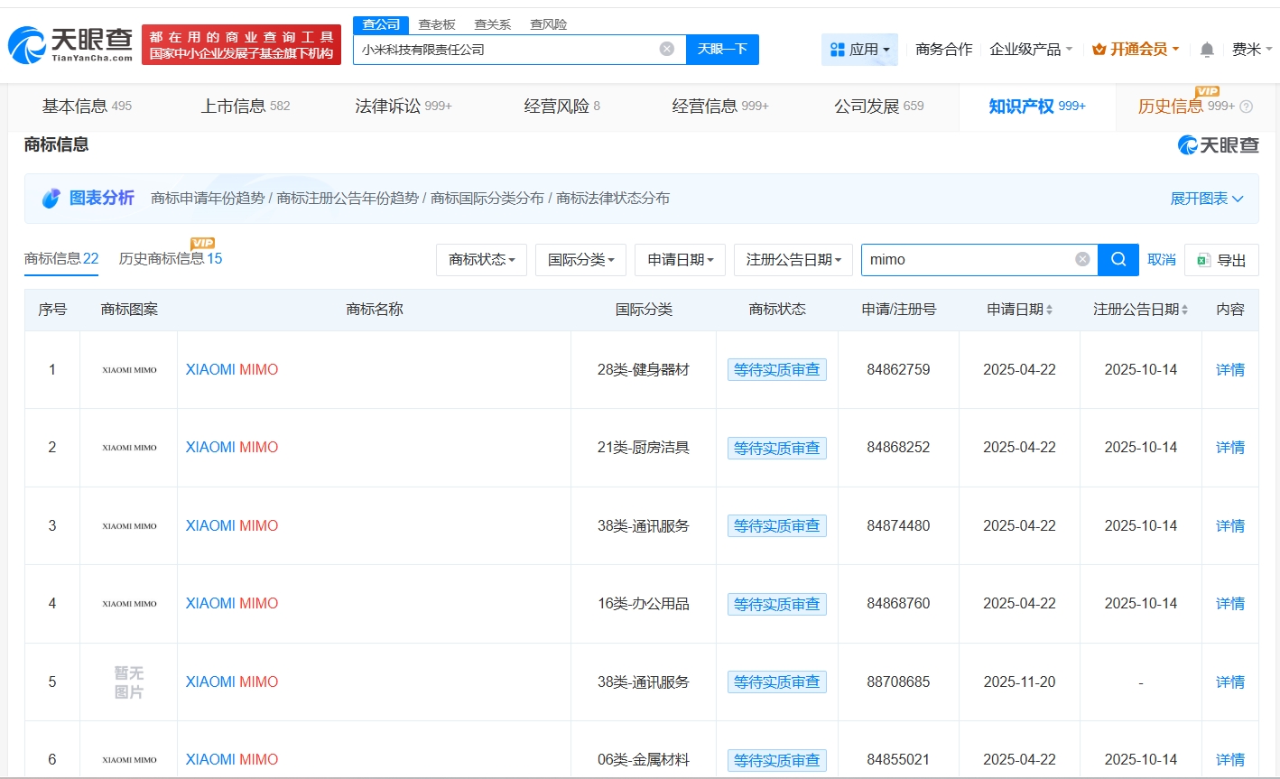
天眼查知识产权信息显示,近日,小米科技有限责任公司登记“Xiaomi MiMo标识设计”作品著作权,作品类别为美术。此前,该公司已申请注册多枚“XIAOMI MIMO”商标。
小米科技有限责任公司成立于2010年3月,法定代表人为雷军,注册资本18.5亿人民币,经营范围包括通讯设备销售、厨具卫具及日用杂品批发、厨具卫具及日用杂品零售等。股东信息显示,该公司由雷军、黎万强、洪锋、刘德共同持股。据媒体报道,此前,小米正式发布并开源了全新基础语言模型MiMo-V2-Flash,引发多方关注。




天眼查知识产权信息显示,近日,小米科技有限责任公司登记“Xiaomi MiMo标识设计”作品著作权,作品类别为美术。此前,该公司已申请注册多枚“XIAOMI MIMO”商标。
小米科技有限责任公司成立于2010年3月,法定代表人为雷军,注册资本18.5亿人民币,经营范围包括通讯设备销售、厨具卫具及日用杂品批发、厨具卫具及日用杂品零售等。股东信息显示,该公司由雷军、黎万强、洪锋、刘德共同持股。据媒体报道,此前,小米正式发布并开源了全新基础语言模型MiMo-V2-Flash,引发多方关注。



