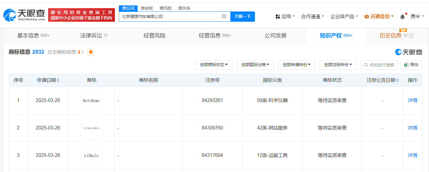
天眼查知识产权信息显示,近日,北京理想汽车有限公司申请注册“LiHalo”“Li Auto Halo”“HaloHome”商标,国际分类为科学仪器、网站服务、运输工具,当前商标状态均为等待实质审查。
据媒体此前报道,理想汽车宣布开源智能汽车操作系统 Li Halo OS,以推进自动驾驶技术发展。


天眼查知识产权信息显示,近日,北京理想汽车有限公司申请注册“LiHalo”“Li Auto Halo”“HaloHome”商标,国际分类为科学仪器、网站服务、运输工具,当前商标状态均为等待实质审查。
据媒体此前报道,理想汽车宣布开源智能汽车操作系统 Li Halo OS,以推进自动驾驶技术发展。

