昂科技术作为芯片烧录领域的领导者,在推出新版烧录软件的同时,也宣布扩充了其兼容芯片型号列表。华普微的FSK发射芯片CMT2189D位列新增型号之中,现已获得昂科通用烧录平台AP8000的支持。
CMT2189D是一款搭载增强型1T-8051内核的低功耗SoC RF发射器,具备以下关键特点和功能:
1. 该系列芯片支持27~960MHz,OOK调制或(G)FSK调制的无线发射功能;
2. 高效单端PA,输出功率可调范围0~+13dBm,+13dBm发射时仅需18mA;
3. 8kB OTP程序存储体和12kB ROM(用于存储API函数库);
4. 采用单线(1-WIRE)在线仿真功能,用户可通过专用1-WIRE调试器把目标调试代码直接下载到片内PRAM中运行,调试非常便捷;而不像传统OTP芯片无法支持在线仿真,需要特定仿真器,调试非常麻烦;
5. 内置AES-128加速器和真随机数产生器(TRNG),并提供32位序列号(ID),非常合适用于发射信息需要进行加密等遥控或主动RFID场合;
6. 支持双时钟运行架构,系统运行内部高速时钟的同时,可以采用内部低功耗RC振荡进行低功耗定时唤醒模式;
7. 内置12位高精度高速SAR-ADC,适用于传感器的无线采集场合。

产品特性
MCU特性
• 高性能8051
– 单指令周期(1T-8051)
– 高达24MIPS
– 8kB RAM/8kB OTP
– 内置512 bits EEPROM
– 12kB ROM(API函数库)
– 单线在线仿真调试接口
• 数字外设
– 内置AES-128加速引擎
– 真随机数产生器
– 1xUART
– 1xSPI
– 1xWDT
– 1xRTC(仅内部32KHz)
– 2x16位多功能定时器(支持PWM/CCP)
– 14xGPIO,均支持电平变化中断/唤醒
• 模拟外设
– Sub-1G发射模块
– 12位SAR-ADC, 100ksps, 8-ch
– 内置高速3/12/24MHz RC振荡器
– 内置低功耗32kHz RC振荡器
• 代码安全性
– 内置多重程序保护,保密性能高
– 烧录串口(S3S接口)带锁死功能
Sub-1G发射模块特性
• 工作频率:27–960MHz
• 调制模式:OOK、G/FSK
• 数据率
– 0.5–40kbps(OOK)
– 0.5–200kbps(G/FSK)
• 输出功率:+13dBm(Max.)
• 工作电流:18 mA@+13 dBm, 433.92MHz FSK
• 单端高效Class E高效发射PA
• PA Ramping斜率根据速率可变
低功耗特性
• 工作电压:2.0~3.6V
• 工作温度:- 40℃~+85℃
• 关机电流:300nA
• RTC模式:800nA
应用
• 车库门遥控
• 遥控门禁系统
• 消费类无线遥控
• 智能家居
• 家居安防
• 有源RFID标签
• 无线传感网络
• WM-Bus T1模式

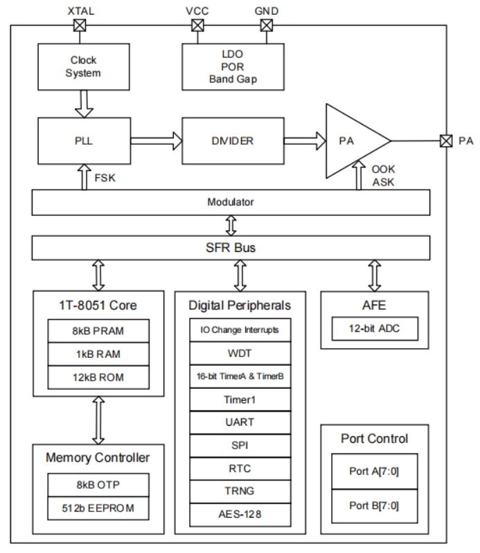
系统框图
昂科技术自主研发的AP8000万用烧录器,已成为行业内具有标杆意义的专业烧录解决方案。该设备支持灵活可调的一拖一及一拖八配置模式,并提供在线、离线双工作模式,尤其针对eMMC、UFS等存储芯片开发了专属烧录方案,可全面覆盖华普微全系列芯片的裸片离线烧录与在板烧录需求。AP8000采用主机、底板、适配座三大核心模块的创新模块化设计,赋予设备出色的兼容性与扩展能力。作为通用型烧录平台,其不仅能适配市场上各类可编程芯片,更以稳定高效的性能表现,成为昂科自动化批量烧录设备IPS5800S的核心组件,可高效处理大规模芯片烧录任务,满足量产需求。

AP8000主机具备灵活的连接方式,同时配备USB和NET接口,可实现多台编程器的便捷组网。通过组网功能,用户能够轻松实现多台编程器的同步控制,高效开展并行烧录作业。在安全性方面,主机内置智能安全保护电路,可实时监测芯片放置状态与电路连接情况,一旦检测到芯片反插、短路等异常,将立即触发断电保护机制,全方位守护芯片和编程器的安全运行。主机内部搭载高速FPGA芯片,大幅提升数据传输与处理效率,确保烧录过程流畅高效。为增强使用便捷性,主机背部设置SD卡槽,用户只需将PC端生成的工程文件存储至SD卡,并插入卡槽,即可通过编程器实体按键完成文件选择、加载与烧录操作,实现脱离PC的独立运行。这一设计不仅降低了对计算机硬件配置的依赖,还简化了工作环境搭建流程,显著提升操作灵活性。
在扩展性与兼容性上,AP8000采用底板与适配板模块化组合设计,有效拓展主机功能边界。目前,该设备已实现对全主流半导体厂商产品的支持,覆盖ESPRESSIF, ALLWINNER, ALLEGRO, TI, RENESAS等知名品牌。其支持器件类型广泛,涵盖NAND, NOR, MCU, CPLD, FPGA, EMMC等,并全面兼容Intel Hex, Motorola S, Binary, POF等多种行业标准文件格式,为用户提供一站式、全场景的芯片烧录解决方案。
文章来源于:www.acroview.com