碧桂园生活服务集团深陷法律纠纷。中国执行信息公开网显示,公司近一年来频繁沦为被执行人,单笔被执行金额高达5.23亿元,且多家子公司亦沦为被执行人。更严峻的是,公司所持有的11家子公司超9.67亿元股权被法院裁定冻结。
债务风波未平的同时,合规“红线”亦失守。信用中国显示,碧桂园生活服务集团存在两条行政处罚记录。
5.23亿元执行案件“缠身”
中国执行信息公开网显示,截至2026年1月26日,碧桂园生活服务集团累计已有23条被执行人记录。其中,金额最高的一笔执行案于2025年8月19日立案,上海市第二中级人民法院将碧桂园生活服务集团列为被执行人,案号为(2025)沪02执1687号,被执行金额5.23亿元。
最近的一笔执行案于2026年1月22日立案,广西壮族自治区桂林市荔浦市人民法院将碧桂园生活服务集团纳入被执行人名单,案号为(2026)桂0381执116号,被执行金额13.86万元。

图片来源:中国执行信息公开网
除了自身面临信用风险,碧桂园生活服务集团投资的多家子公司近年来也存在问题。据统计,近一年来,公司旗下十余家分公司及子公司均存在被执行记录。
中国执行信息公开网显示,仅碧桂园生活服务集团旗下分公司就有15条被执行人记录。常州、扬州、海口、郑州、连云港、珠海、黄冈、临泉、田东等分公司均在2026年1月新增被执行人记录,单条被执行金额在几万元之间。

图片来源:中国执行信息公开网
公司全资子公司广东碧桂园生活服务有限公司存在2条被执行人记录,其中广东碧桂园生活服务有限公司在2026年1月份分别被河南省郑州市中牟县人民法院、云南省昆明市五华区人民法院列为被执行人,被执行金额分别为1.02万元、60.56万元,被执行总金额61.58万元。
更严重的是,碧桂园生活服务集团多家子公司上海金晨物业经营管理有限公司、天津泰达城投物业管理有限公司和天津市滨海碧桂园生活服务有限公司均因“有履行能力而拒不履行生效法律文书确定义务”被纳入失信被执行人名单,且案件均标注“全部未履行”。

图片来源:中国执行信息公开网
此外,碧桂园生活服务集团近年来官司“缠身”,涉及多起司法案件,且以民事案件为主。中国裁判文书网显示,截至2026年1月26日,碧桂园生活服务集团有23882篇文书,案由包括物业服务合同纠纷、服务合同纠纷、财产损害赔偿纠纷、健康权纠纷、其他民事等。

图片来源:中国裁判文书网
多家子公司股权遭冻结
公开信息显示,碧桂园生活服务集团位于广东省佛山市顺德区,公司于2018年在香港交易所主板上市,股票简称为碧桂园服务,代码为06098.HK,公司业务包含住宅、商业物业、写字楼、产业园、政府大楼等领域的物业管理服务,并提供社区生活服务、数字化产品等相关服务。2025年上半年,碧桂园服务总营收231.85亿元,同比增长10.2%,核心物管业务收入同比增长6.7%。碧桂园智慧物业在第三方市场拓展方面表现突出,以488万平方米的拓展面积位居行业首位。
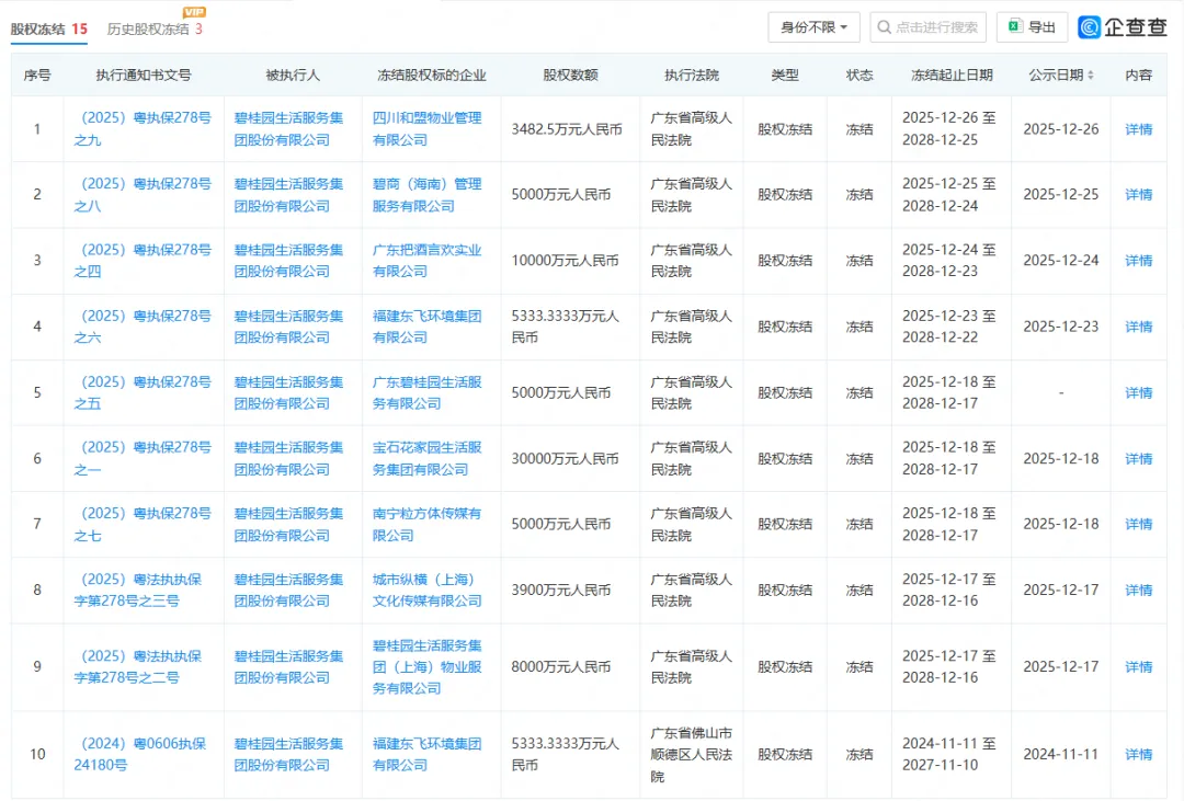
值得关注的是,企查查数据显示,碧桂园生活服务集团持有的11家公司股权已被司法冻结,涉及股权总额约9.67亿元。具体来看,被冻结股权的下属公司涵盖物业管理、组织管理、食品批发、城市环境卫生管理服务、居民服务、广告媒体、理发服务、营销代理等多个关键领域,包括碧桂园生活服务集团所持四川和盟物业管理有限公司3482.5万元股权、碧商(海南)管理服务有限公司5000万元、广东把酒言欢实业有限公司10000万元股权、福建东飞环境集团有限公司5333.3333万元股权、广东碧桂园生活服务有限公司5000万元股权、宝石花家园生活服务集团有限公司30000万元股权、南宁粒方体传媒有限公司5000万元股权、城市纵横(上海)文化传媒有限公司3900万元股权和碧桂园生活服务集团(上海)物业服务有限公司8000万元股权、重庆财智信智慧生活服务集团有限公司20000万元股权、广东乐享生活家庭服务有限公司1000万元股权。


图片来源:企查查
合规“红线”的失守引发关注
继频繁被执行引发市场关注后,碧桂园生活服务集团还存在两条被行政处罚记录。
信用中国显示,2025年12月17日,佛山市住房公积金管理中心发布《行政处罚决定书》显示,碧桂园生活服务集团未按法规规定办理职工黄某某住房公积金账户的设立手续,其行为违反《住房公积金管理条例》第十五条规定,并处罚金1万元。

图片来源:信用中国
2025年11月2日,北京市石景山区住房和城市建设委员会发布《行政处罚决定书》显示,2025年10月24日,因西山麓园小区2号楼、4号楼存在堆放杂物、自行车占用消防通道的情况,碧桂园生活服务集团股份有限公司作为物业管理单位未履行劝阻、制止和报告职责,以上行为违反《北京市物业管理条例》第六十五条第四项的相关规定。最终,碧桂园生活服务集团被警告,并处以5000元的罚款。

图片来源:信用中国
针对公司存在被执行记录等问题,《城市金融报•财观新闻》向碧桂园生活服务集团发送采访函,截至发稿尚未收到回复。
记者:贺小蕊
财经研究员:邓晓蕾