买蔚来ES8,的确,看着这辆车是挺不错的,很多地方,不管是外形,还是内饰,你几乎是找不到这辆车的半点毛病,特别是外形,给我第一印象就是帅气,可是呢,大家还是别光顾着看这辆车好的一面,实际上,这辆车还是存在一些隐性开支的,如果你不能接受这些事情,我劝你还是仔细再考虑一下。


首先,就是蔚来ES8的轮胎,低配用的是265/45 R21,而顶配是265/40 R22,看着是挺好看的,轮胎体积也很大,看着也倍有面子,但是,你忽略一件事情,就是蔚来ES8车身很大,重量也不小,一度来到了2.6吨重,满载更是飙到3.2吨,这样大的体积,同时也就意味着轮胎磨损也会跟着很严重。


当你以为只有车身重,那你也太年轻了,对于蔚来ES8来说,还有一点,那便是电车的加速度特别快,蔚来ES8甚至达到了3.9秒,开起来特别爽,加速度很快,毕竟这辆车是一辆双电机,并且马力能达到707的超级马力,但是,这些问题带来的一个结果,就是轮胎的磨损程度也会超乎你的想象,换轮胎的速度非常快。

最要命的,比起那些单电机的车来说,双电机前后置的,你还没办法跟其他那些单电机的车,玩轮胎对调?就是把前面的轮胎和后边的轮胎换过来,因为双电机带来的磨损问题,就是四个轮胎一起磨损,到时候,所以,接受不了电车背刺的,你就要考虑清楚了,现在的蔚来ES8,轮胎磨损绝对能够背刺你一顿。

具体要花多少钱,我也已经给整理成了一张表格,详细找了找网上的轮胎报价,最便宜的海大轮胎,报价一条在600元左右,而最贵的倍耐力的,轮胎在2000元以上,也就是说,你四个轮胎一起换,最便宜也要干出来2000多以上,最贵,分分钟给车主干到七八千上去了,因此,如果你买车就要考虑这个隐形开支了。

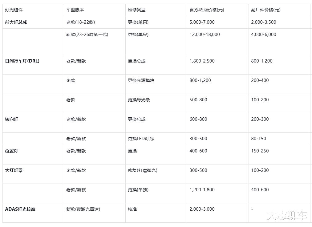
不单单是轮胎,你也得小心一下蔚来车上的前后大灯和贯穿式尾灯,一旦损坏的话,同样也要面临天量的维修成本,换个总成起码上万元,还有什么位置灯啥的,少说也要大几百块钱的支出,一旦你发生车祸被撞了,这个维修成本绝对够你喝一壶的,特别是三代采用的激光大灯的维修成本,哪怕是副厂件也要4000块钱起步了。