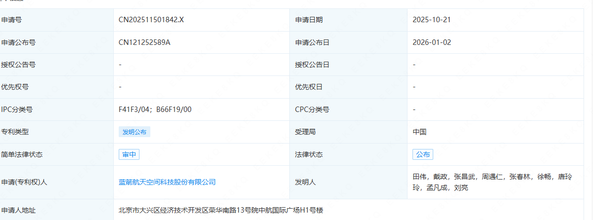
近日蓝箭航天空间科技股份有限公司申请的“一种可调式火箭起竖车”专利公布。
企查查知识产权信息显示,近日蓝箭航天空间科技股份有限公司申请的“一种可调式火箭起竖车”专利公布。
根据摘要,本发明提供一种可调式火箭起竖车,包括:底盘和起竖架;所述起竖架设置于所述底盘上;沿所述起竖架的长度方向设置至少两组抱臂系统,所述抱臂系统用于支撑并抱紧火箭;所述抱臂系统用于对接火箭的端面为与火箭相适配的型面;所述抱臂系统沿所述起竖架的长度方向可移动设置;所述起竖架沿其长度方向的一端与所述底盘可转动设置,以带动火箭起竖或放平。该起竖车能够适应不同长度火箭的运输和起竖。

除此项专利外,近期蓝箭航天申请的“轴承试验装置”专利同样得到公布。
根据公司官网介绍,蓝箭航天是全国首家取得全部准入资质、唯一基于自研液体发动机实现成功入轨的民营运载火箭企业,已具备全产业链条交付能力。
近期,上交所官网显示,蓝箭航天空间科技股份有限公司科创板IPO审核状态变更为“已受理”,公司拟融资金额75亿元。
