一种具有高度滚动性和集中负荷的杂货运输货种,寒潮大风天气来袭,极易因船体摇晃而随之滚动,可能对船体造成冲击损害,更可能导致船舶失衡倾斜、倾覆,甚至引发人员伤亡。
各位船员兄弟
想知道具体怎么规范操作
避开哪些“雷区”?
跟着小编往下看,干货这就来!

积载规划要科学
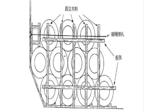
卷钢应为底堆装,尽可能以规律的层次在船上装满,同时需横向堆装在垫木上,且轴线沿纵向排列,每卷需紧密靠在一起。装卸过程中,为防止卷钢移动,必要时可使用楔子固定(见图1)。如需叠装两层,上层的卷钢应装在下层的卷钢之间(见图2)。每排最后一卷通常应放在附近的两卷上边,利用其质量可固定住该排的其他卷材。最高层卷钢存在任何空挡均应加以系固(见图3)。

图1

图2

图3
系固绑扎要牢固
带钢卷材在舱内绑扎的目的是形成不可移动的大卷材组,通常需绑扎最高一层最后三排,无外包装卷材顶层不采用成组绑扎,其最后一排需用垫木和钢丝绳系固(钢丝绳需拉紧并附加拉至舱壁),而当卷材装满底下处所且支撑良好时,仅固定卷材即可,无需额外系索(见图4、图5)。系索可以是使用钢丝绳、钢带或任何等效方法的常规类型。常规系索应由有足够拉力强度的钢丝构成,第一层应用楔子塞紧,在航行中应能重新收紧系索。钢丝系索应有防止利刃损坏的保护。如只有少量卷材,或仅有一个卷材,它们应适当地系固在船上,可以把它们放在支架里,用楔子塞牢或给予支撑和绑扎,以防横向和纵向移动。

图4

图5
安全运钢牢记六点
一、确保运输卷钢船舶按照主管机关认可的《货物装载手册》和《系固手册》进行正确的装载和系固。其次,应加强船舶稳性的计算与分析,以保障船舶在恶劣天气下的稳定性。
二、在装船前,大副应与码头和第三方绑扎公司严格按照《系固手册》中卷钢运输相关要求制定装载和绑扎计划。船长必须确认开航前船舶的稳性满足要求。同时,相关人员应熟悉船舶稳性的计算方法。
三、船舶应保持舱盖板的完好性,有效防止风雨侵入,并严禁超载现象的发生。
四、卷钢的装载应充分利用衬垫,并严格按照《货物装载手册》和《安全系固手册》进行操作,确保货仓内的实际载货量不超过货仓双层底的允许载荷。
五、在规划航次时,必须充分考虑天气状况,评估船舶的稳性,以避免在大风浪中冒险航行可能导致的事故,如船舶倾斜或倾覆。
六、航运公司应制定合理的应急预案,组织船员学习钢材货物的安全操作规程,并加强船舶的岸基管理。同时,应督促船上人员按照公司应急预案进行演练,确保熟练掌握船舶的动态情况。
海事安全小贴士
钢材载运路漫漫,安全运输记心间
装载稳性要精确,系固绑扎须牢靠
气象预警早研判,航次规划避风险
设备检查勤到位,不畏风浪到岸畔
声明:转载此文是出于传递更多信息之目的。若有来源标注错误或侵犯了您的合法权益,请作者持权属证明与本网联系,我们将及时更正、删除,谢谢。