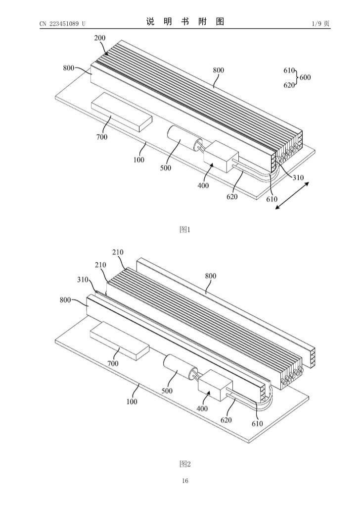
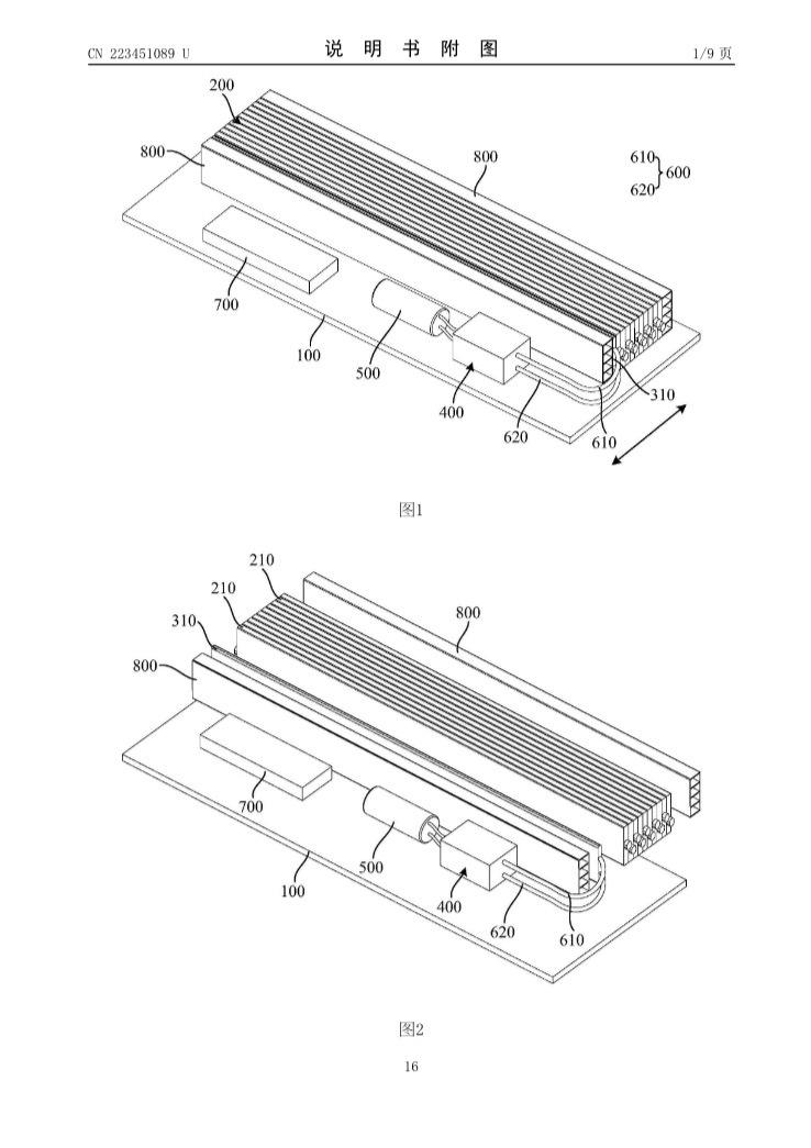
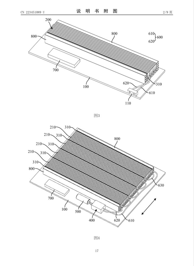
比亚迪自适应电池夹具还记得之前厂长直播说固态上车难点时有提到比亚迪这个电池自适应夹具吗?现在,专利可以查看到了。结合比亚迪/弗迪最近一系列动作来看,全固态电池装车应用,除了我以外 ,那最快的应该就是比亚迪了。







比亚迪自适应电池夹具还记得之前厂长直播说固态上车难点时有提到比亚迪这个电池自适应夹具吗?现在,专利可以查看到了。结合比亚迪/弗迪最近一系列动作来看,全固态电池装车应用,除了我以外 ,那最快的应该就是比亚迪了。







猜你喜欢
【1评论】【1点赞】
【4评论】【3点赞】
【12评论】【6点赞】
【3评论】【3点赞】
【7评论】【1点赞】
作者最新文章
热门分类
科技TOP
科技最新文章