日前,山西银行4.16亿股股权被摆上拍卖台,起拍价为4.17亿元,每股均价约1.00元。
上述股权的持有人为山西银行第四大股东,该股东实际控制人为前“山东首富”王某涛,目前已沦为“失信被执行人”。该股东及旗下企业已被山西银行诉至法院,要求偿还8623万元借款本金和利息。此外,山西银行第三大股东和第五大股东也被法院列入被执行人。
作为山西省“改革化险”的产物,山西银行肩负化解该省原五家地市城商行遗留问题和历史包袱的重任。然而,该行交出的答卷并不乐观。数据显示,山西银行2024年净利润暴跌九成,资产利润率降至0.01%,成本收入比逼近80%。截至2024年末,该行不良贷款余额增幅超过45%,不良贷款率升至2.50%,个人经营性贷款的不良率更是飙升至42.35%的历史高位。
第四大股东破产重整
据阿里资产司法拍卖平台提供的信息显示,山西银行4.16亿股股权及孳息将于2026年1月11日公开拍卖,起拍价为4.17亿元,每股均价约1.00元。该股权的所有人为中融新大集团有限公司(简称“中融新大集团”),权利来源为司法裁定,由晋城市城区人民法院依法处置。

图片来源:阿里资产拍卖网
年报披露,中融新大集团位列山西银行第四大股东,持股数量4.16亿股,持股比例1.61%。企查查显示,中融新大集团目前已被打上“失信被执行人”、“限制高消费”、“债券违约”标签。
12月16日,恒丰银行发布的中融新大集团债券违约后续进展公告披露,2023年7月,经淄博市中级人民法院裁定,中融新大进入破产重整程序。2025年4月23日,淄博市中级人民法院裁定批准中融新大的重整计划并终止重整程序,目前进入执行阶段。
业内人士指出,重整计划进入执行阶段,意味着破产重整方案正式从制定阶段转入落地实施。在重整计划执行期间,企业如不执行或不能执行重整计划,将存在被法院宣告破产的风险。企业如被法院宣告破产,则将被实施破产清算。
据了解,中融新大集团的实际控制人为“焦化大王”王某涛,王某涛2021年曾以596.5亿元的身价问鼎“山东首富”。据官网介绍,中融新大集团创立于2003年,是以能源化工、玻璃建材、矿产资源、物流清洁能源为主业的国际化大型集团企业。该公司总部位于青岛,下设山东焦化集团、山东物流集团、中融新大(青岛)矿产资源有限公司等多家权属企业,现有员工4000人。
淄博市中级人民法院裁定书披露,中融新大集团未能清偿申请人的到期债务,其他涉诉案件经法院执行亦未能清偿;该公司提供的资料印证该公司已资不抵债,部分债务经法院强制执行仍未履行清偿义务,缺乏清偿能力。来自中融新大提供的资料及听证陈述显示,该公司账面资产总额252.75亿元,负债488.15亿元。
值得注意的是,山西银行已将中融新大集团诉上法庭,诉请法院判令山东物流集团有限公司偿还该行借款本金8623万元及利息、罚息和复利,并要求中融新大集团、王某涛等其他被告人对上述债务承担连带清偿责任。
公司治理乱象交织
“山西银行是在全省改革化险大背景下,由原五家地市城商行整合组建的新机构。”山西银行相关介绍称,该行面临化解遗留问题和历史包袱的压力。
据官网介绍,山西银行是以原大同银行、长治银行、晋城银行、晋中银行、阳泉市商业银行为基础通过新设合并方式设立的山西省属金融企业,2021年4月挂牌开业。截至2023年末,该行资产规模超过3500亿元,员工6400余名,营业网点307家,遍布山西省10个地市、23个区、36个县。

图片来源:山西银行2024年年报
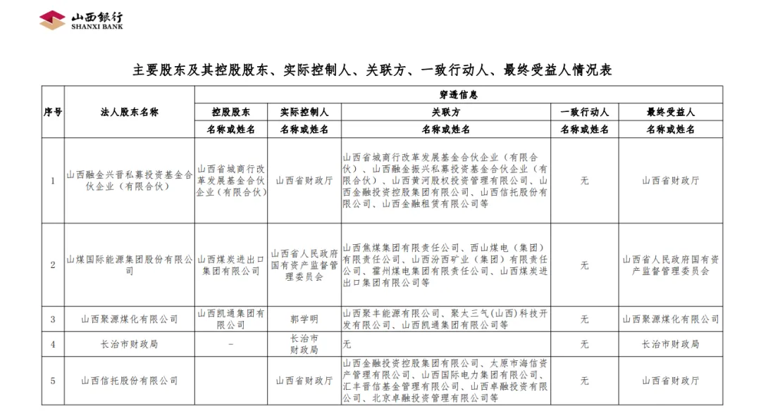
山西银行2024年年报披露,该行第一大股东为山西融金兴晋私募投资基金合伙企业(有限合伙),持股数量153亿股,持股比例高达59.0866%。根据相关监管规定,中小商业银行“主要股东包括战略投资者持股比例一般不超过20%;对于部分高风险城市商业银行,可以适当放宽比例。”
对此,中国证监会在2025年1月6日下发的《关于山西银行申请向特定对象发行股票的反馈意见》中要求该行补充说明“持股比例超过监管限额是否存在行政处罚的风险、监管豁免是否取得行业主管部门批准,是否存在因执行银行业主管部门监管要求导致股权变动的情况。”

图片来源:山西银行2024年年报
值得注意的是,山西银行的5家主要股东中,山西信托股份有限公司为该行第一大股东山西融金兴晋私募投资基金合伙企业(有限合伙)的关联方,二者实际控制人和最终受益人均为山西省财政厅。这两家股东合计持有山西银行的股份数量为154.0368亿股,持股比例为59.487%。山西银行年报称,“山西省财政厅为本行实际控制人。”


图片来源:企查查
据企查查提供的信息显示,山西银行第三大股东大同市经济建设投资集团有限责任公司自2025年10月份以来5次成为被执行人,被执行总金额约2.44亿元。该公司历史被执行人信息多达 11条, 被执行总金额约3.60亿元。

图片来源:企查查
此外,山西银行第五大股东山西聚源煤化有限公司也被法院列入被执行人。该公司2025年8月份被宁波市中级人民法院立案执行,被执行总金额约1.10亿元。

图片来源:企查查
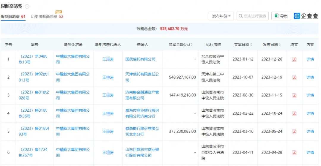
上述山西银行第四大股东中融新大集团更是多次沦为“失信被执行人”,该公司及法定代表人王某涛被各地法院61次限制高消费,涉案总金额高达52.56亿元。
个人经营性贷款不良率突破40%
2025年以来,山西银行公开披露的财务数据寥寥无几。2025年10月31日,该行发布的2025年三季度信披报告称,“本行拟定于三季度披露的信息于四季度一并披露。”
据山西银行2025年二季度信披报告显示,该行资本充足率“告急”。截至2025年6月末,该行核心一级资本充足率为9.90%,一级资本充足率为9.90%,资本充足率为10.51%。其中,山西银行资本充足率已迫近10.50%的监管“红线”,几乎踩线最低监管标准。
截至目前,山西银行最新公布的财务数据依旧停留在2024年。年报披露,山西银行2024年实现营业收入31.68亿元,较2023年同期31.49亿元增加0.20亿元,增幅为0.62%;实现营业利润0.80亿元,较2023年同期8.64亿元减少7.83亿元,同比下降90.68%;实现净利润0.51亿元,较2023年同期8.31亿元减少7.80亿元,同比下降93.89%。
伴随着净利润暴跌九成,山西银行2024年的平均资产收益率也骤降至0.01%,距离同期行业平均水平0.63%差距较大。与此同时,该行的不良贷款和逾期贷款余额大幅增加,资产质量下滑趋势明显。

图片来源:山西银行2025年跟踪评级报告
数据显示,截至2024年末,山西银行的不良贷款率升至2.50%,较2023年末的1.74%增加76个基点;不良贷款余额为43.69亿元,较2023年末的30.02亿元增加13.67亿元,增幅超过45%。
同期,山西银行的逾期贷款率升至4.23%,较2023年末的3.48%增加75个基点;逾期贷款余额为74.03亿元,较2023年末的60.05亿元增加13.98亿元,增幅超过23%。
评级报告披露,山西银行房地产和建筑行业不良贷款和关注类贷款占比较高,该行2024年房地产业和建筑业贷款占比分别为5.19%和5.60%;不良贷款率分别为3.08%和10.11%;关注类贷款占比分别为40.67%和22.70%。
“山西银行承接的4家村镇银行部分个人经营性贷款及早期通过互联网渠道投放的贷款亦形成不良贷款,在一定程度上加重了山西银行信用风险管理压力。截至2024年末,该行个人经营性贷款不良率为42.35%。”评级报告披露,截至2024年末,山西银行借新还旧规模为56.47亿元,其中关注类40.61亿元,其余纳入不良类;展期贷款余额15.44亿元。该行关注类贷款占贷款总额比重仍较高,同时借新还旧及展期类贷款规模较大,信贷资产质量面临下行压力。
数据显示,2022年~2024年,山西银行的成本收入比分别为81.54%、80.87%、79.56%,远高于商业银行的成本收入比不应超过45%的监管建议值。
记者:张嘉怡
财经研究员:于文