芯片烧录领域的领导者昂科技术在推出新版烧录软件的同时,也宣布扩充了其兼容芯片型号列表。其中普冉半导体的串行接口闪存PY25Q40HB-SV在新增型号之中,已获得昂科通用烧录平台AP8000的支持。
PY25Q40HB-SV是一款串行接口闪存器件,专为各类高容量消费类应用设计。在这类应用中,程序代码会从闪存 “映射”(shadowed)到嵌入式RAM或外部RAM中执行。该器件具备灵活的擦除架构,加之其扇区擦除粒度特性,使其同样适用于数据存储,无需额外配备专用数据存储器件。
该器件的擦除块大小经过优化,可满足当前代码存储与数据存储应用的需求。通过优化擦除块尺寸,存储空间的利用效率能大幅提升:由于特定代码模块与数据存储段需独立存在于各自的擦除区域,采用大扇区、大块擦除闪存器件时易出现的存储空间浪费与闲置问题,可通过该优化显著减少。这种更高的存储空间利用率,使得在保持器件整体存储密度不变的前提下,仍能增加额外的代码程序与数据存储段。
此外,该器件还包含3个512字节的附加安全寄存器,且支持一次性可编程(OTP)锁定功能。这些安全寄存器可用于多种场景,例如存储唯一器件序列号、系统级电子序列号(ESN)、加密锁定密钥等。
作为一款为多类不同系统设计的器件,PY25Q40HB-SV支持读取、编程与擦除操作,且工作电源电压范围宽泛,为2.3V至3.6V,编程与擦除过程无需额外的独立电压供电。

特征
• 单电源供电:2.3V至3.6V
• 兼容串行外设接口(SPI):支持模式0与模式3
• 支持多种SPI模式
– 标准SPI:包含SCLK(串行时钟)、CS#(片选)、SI(串行输入)、SO(串行输出)、WP#(写保护)、HOLD#(保持)引脚
– 双路SPI(Dual SPI):包含 SCLK、CS#、IO0(双向 IO0)、IO1(双向 IO1)、WP#、HOLD# 引脚
– 四路 SPI(Quad SPI):包含 SCLK、CS#、IO0、IO1、IO2(双向 IO2)、IO3(双向 IO3)引脚
– 四线制外设接口(QPI):包含 SCLK、CS#、IO0、IO1、IO2、IO3 引脚
• 灵活的代码与数据存储架构
– 统一256字节页编程
– 统一4K字节扇区擦除
– 统一32K/64K字节块擦除
– 整片擦除
• 硬件控制的受保护扇区锁定:通过WP#引脚实现
• 一次性可编程(OTP)安全寄存器
– 3个512字节安全寄存器,支持OTP锁定
• 器件唯一性标识:每颗器件配备128位唯一ID
• 典型快速编程与擦除速度
– 字节编程时间:30微秒
– 页编程时间:0.5毫秒
– 4K字节扇区擦除时间:50毫秒
– 32K字节块擦除时间:0.16秒
– 64K字节块擦除时间:0.3秒
• ID读取方式:支持JEDEC(联合电子设备工程委员会)标准制造商ID与器件ID读取方法
• 典型超低功耗
– 深度掉电电流:1微安
– 待机电流:15微安
– 85MHz频率下主动读取电流:7.5毫安
– 主动编程/擦除电流:6毫安
• 高可靠性
– 编程/擦除周期:10万次
– 数据保留时间:20年
• 行业标准环保封装选项
– 8引脚SOP封装(150密耳/208密耳)
– 8焊盘USON封装(尺寸分别为3×2×0.55毫米、3×4×0.55毫米、1.5×1.5×0.45毫米)
– 8引脚TSSOP封装(薄型小外形封装)
– 系统级封装(SiP)专用已知合格芯片(KGD)

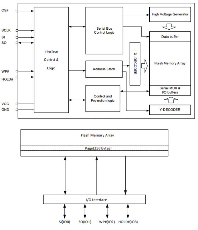
内部框图
昂科技术自主研发的AP8000万用烧录器,已成为行业内具有标杆意义的专业烧录解决方案。该设备支持灵活可调的一拖一及一拖八配置模式,并提供在线、离线双工作模式,尤其针对eMMC、UFS等存储芯片开发了专属烧录方案,可全面覆盖普冉半导体全系列芯片的裸片离线烧录与在板烧录需求。AP8000采用主机、底板、适配座三大核心模块的创新模块化设计,赋予设备出色的兼容性与扩展能力。作为通用型烧录平台,其不仅能适配市场上各类可编程芯片,更以稳定高效的性能表现,成为昂科自动化批量烧录设备IPS5800S的核心组件,可高效处理大规模芯片烧录任务,满足量产需求。

AP8000主机具备灵活的连接方式,同时配备USB和NET接口,可实现多台编程器的便捷组网。通过组网功能,用户能够轻松实现多台编程器的同步控制,高效开展并行烧录作业。在安全性方面,主机内置智能安全保护电路,可实时监测芯片放置状态与电路连接情况,一旦检测到芯片反插、短路等异常,将立即触发断电保护机制,全方位守护芯片和编程器的安全运行。主机内部搭载高速FPGA芯片,大幅提升数据传输与处理效率,确保烧录过程流畅高效。为增强使用便捷性,主机背部设置SD卡槽,用户只需将PC端生成的工程文件存储至SD卡,并插入卡槽,即可通过编程器实体按键完成文件选择、加载与烧录操作,实现脱离PC的独立运行。这一设计不仅降低了对计算机硬件配置的依赖,还简化了工作环境搭建流程,显著提升操作灵活性。
在扩展性与兼容性上,AP8000采用底板与适配板模块化组合设计,有效拓展主机功能边界。目前,该设备已实现对全主流半导体厂商产品的支持,覆盖TOSHIBA, SILICON LABS, HDSC, intel, JOULWATT等知名品牌。其支持器件类型广泛,涵盖NAND, NOR, MCU, CPLD, FPGA, EMMC等,并全面兼容Intel Hex, Motorola S, Binary, POF等多种行业标准文件格式,为用户提供一站式、全场景的芯片烧录解决方案。芯片烧录领域的领导者昂科技术在推出新版烧录软件的同时,也宣布扩充了其兼容芯片型号列表。其中普冉半导体的串行接口闪存PY25Q40HB-SV在新增型号之中,已获得昂科通用烧录平台AP8000的支持。
文章来源于:www.acroview.com