法拉利新专利,要搞“侧排”出气管
我们熟悉的排气方式有单排双排,而侧出排气系统是罕见的功能,因为它增加重量和影响空气动力学,但法拉利提交了一个新的专利,可能让侧排成为可能。
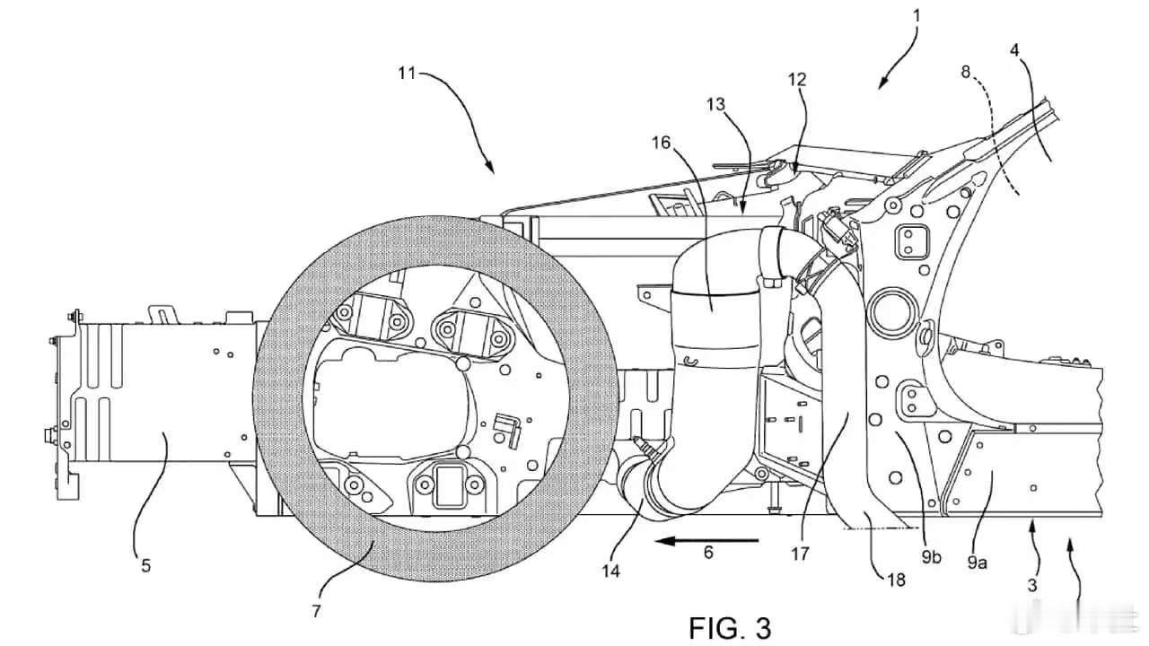
专利附图显示的排气系统从前轮后面延伸,法拉利称这种设计可以“吸收一部分来自前端碰撞的动能”,并“限制前轮接近乘客舱,还减轻了重量。”
这不是法拉利的第一个侧出口尾气专利。2013年它曾提交一份不对称系统的专利,只有一侧有排气口。
不过即使法拉利真的在量产车上安装了侧面排气系统,它也很可能最终会在某一款特殊的限量生产车型上安装。
法拉利


