云霞育儿网
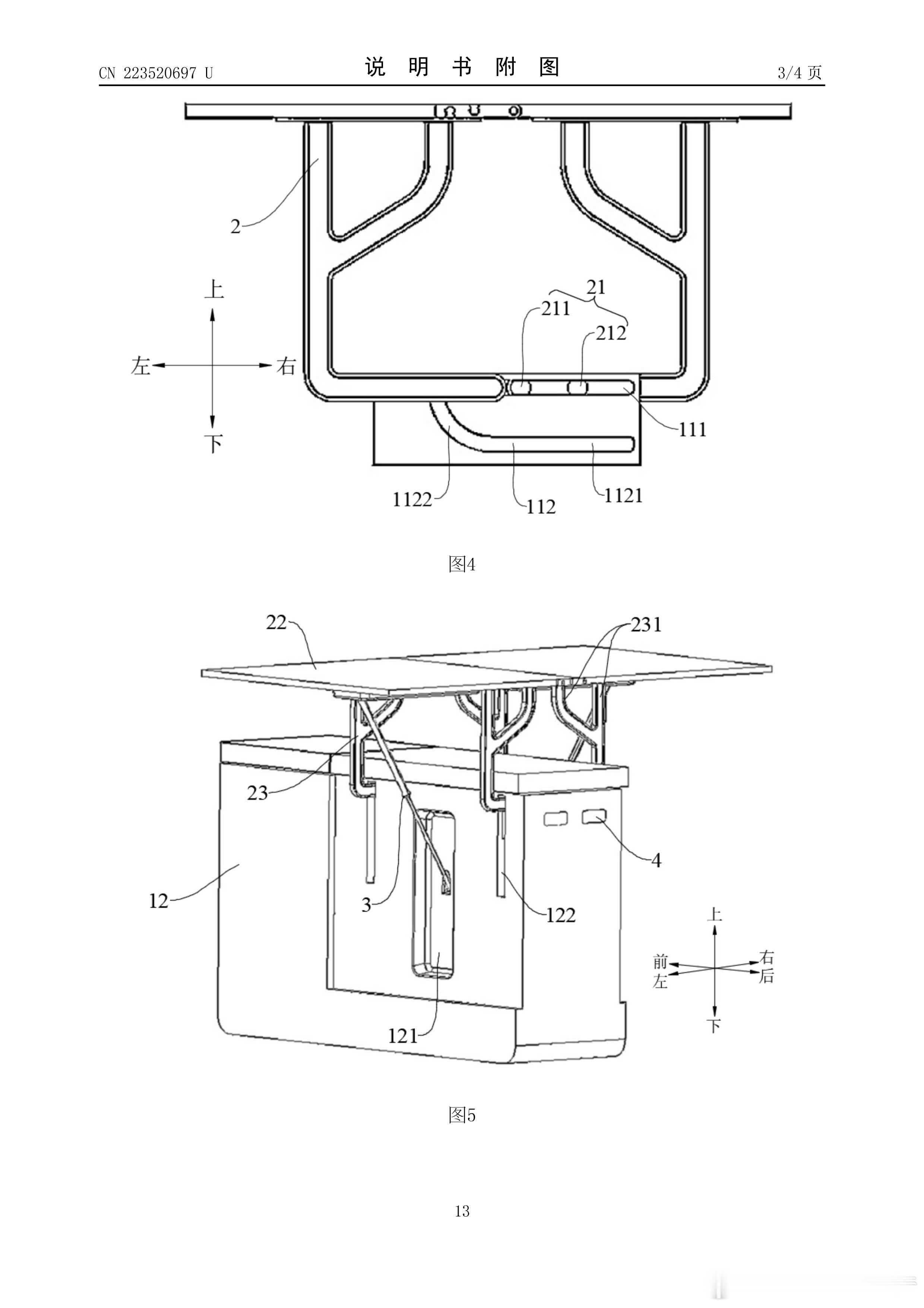
小米汽车这个桌体专利有点意思,看起来展开挺方便,面积也很大,但我在想一个问题,如
天成闲聊汽车啊
2025-11-29 10:08:51
小米汽车这个桌体专利有点意思,看起来展开挺方便,面积也很大,但我在想一个问题,如果这样展开的话,座椅是怎么配合?
0
阅读:0
天成闲聊汽车啊
感谢大家的关注
作者最新文章
1
LICHAN-大梦的红包有钱就是任性!我往红包里塞了现金大奖,能不能抢到就要看你
2
真就是一点点涉及都不行…
3
转下群,这几天拍摄都忘了,中午给大家发铁粉红包~铁粉专属红包 说一句顶一万句
4
写的挺好的,刘路很多事都本质就是挑拨群体对立,说的那些话以为什么都没说大家就都不
5
小米汽车这个桌体专利有点意思,看起来展开挺方便,面积也很大,但我在想一个问题,如
6
笑死这有点绷不住,刘路连刘路都不对号入座平时都矢口否认,怎么这回对号入座了?
7
之前看到的时候我就知道一眼AI,小鹏官方辟谣速度也挺快,转发一下。
8
今天拍摄很极限了,直接干到4300m海拔拍雪山和节目,全是冰雪路面,我是真没想到
9
雷军回应小米汽车续航测试看了下懂车帝这个续航测试,YU7拿了21款车的续航里程第
10
雷军回应小米汽车续航测试雷总回应一下就上热搜,反正就还是那样,小米成绩表现好就是
热门分类
推荐
热榜
军事
NBA
体育
社会
明星八卦
娱乐
财经
科技
汽车
历史
国际
游戏
动漫
公益
搞笑
商业
互联网
数码
国际足球
房产
家居
时尚
科学探索
职场
育儿
股票
教育
影视
情感
热点
中国军情
武器
中国南海
中国足球
亚洲杯
科比
综合体育
CBA
投资
大咖秀
外汇
创业
风口
SUV
豪车
概念车
优惠
新能源
美国
欧洲
朝日韩
俄罗斯
孕期
街拍
婚姻
正能量
汽车
TOP
1
2026ToyotaRAV4
2
好帅我说的是车
3
问界M9L又出现了,看来推向市场只是时间问题了,并且极大概率这就是首款冠以“非凡
4
雷军说,“小米YU7凭借卓越的能耗管理,成为全场跑得最远的车型,而小米SU7是最
5
昨天小鹏科技日最出圈的就是机器人全网都在找它是披着皮的真人的证据确实相比今年4月
6
10月新势力销量:大家涨的都很疯狂啊
7
为啥股价会跌?没看明白。单从步态讲小鹏机器人是全球走得最好最像人的。我平时研究临
8
25年1-9月全球新能源品牌销量榜TOP20,来自咱中国的品牌有十一个[doge]比
9
2026款吉利银河星舰7EM-i将于11月19日上市!搭载全新雷神AI电混2.
10
11~16万,光买这个壳都值了吧
汽车
最新文章
1
别以为新能源汽车正在势头上,传统燃油车就卖不动了。以广汽丰田威兰达为例,每个月还
2
上市3小时,锁单5k+?星途et5这波能成吗?先看价格,首购是14.49-15
3
在纯电与燃油的争论喋喋不休之时,“大电池混动”可谓是融合了两者之长,实在是太香了
4
就是不一样啊,你绝对想不到!2025广州国际车展最贵的合资车是哪一款?这款车又亮
5
靳东的座驾是红旗L5,是约600万的定制版红旗L5,挂京牌且尾数为9。车内内饰有
6
看到这个价格,替国产车捏了一把汗,11.98万的凯美瑞,还要啥自行车?能把丰田逼
7
星途ET5上市!中型SUV增程市场又来“卷王”?共推2款车型,售价区间13.4
8
仰望U8L,落水测试,牛掰克拉斯!在速度50km/h时,从落差60mm处坠入水中
9
普通人换车就是最大的陷阱。因为车是最大的消费品,也是贬值最快的商品。高高兴兴花了
10
广汽丰田全新换代威兰达15.98万起售,这次直接把中型SUV混动价格打到了20万